养老地产融资模式研究
浏览量:基于养老地产项目在我国不断增长的社会需求及房地产行业融资困难的实际情况,分析常用的房地产行业融资途径,提出私募股权投资、养老产业基金、房地产投资信托及保险资金等融资模式,旨在对我国养老地产项目融资提供实践参考。
过去10年,房地产行业进入了空前的繁荣,高房价及大量的房地产项目建设引发了世界对中国房地产市场泡沫危机的恐慌。我国早已经把房地产行业列为八个不鼓励扶持的行业之首,房地产企业在融资过程中举步维艰。目前,养老地产项目开发与积极进行的养老产业国策之间有极大的矛盾。普通的开发贷款不能满足养老地产企业正常的运营与维护,引入社会资本是养老地产发展的必然选择。
1. 保险资金模式
在成熟的市场经济中,政府普遍注意维护市场本身在资源配置中的基础性地位,赋予保险公司足够的多元化的资产配置空间和抉择的主动权。为了控制风险,多数国家对保险资金投资房地产设置了10-20之间的比例限制,这些资金直接或者间接的投资房地产领域。间接投资方式包括REITS(房产信托投资基金),MBS(抵押贷款证券化产品),购买房产上市企业的债权和股票。
《保险资金间接投资基础设施项目试点管理办法》出台之后,泰康保险、平安集团、中保集团及中国人寿已经陆续在北京、上海、广州等投资房地产领域,尤其是中国人寿和泰康保险已经实质性进入养老地产投资。
图1 保险资金投资的主要模式
保险资金兴趣浓厚,积极开发养老地产。近期,泰康人寿在北京市昌平区小汤山购地2000亩开发养老住宅,预期2013年建成;合众人寿也与湖北省武汉市蔡甸区政府合作,计划兴建“合众人寿健康社区”,预计投资80亿元,首期动工面积700-800亩。作为国内寿险业“老大哥”的中国人寿,同样不甘落后。为进军养老产业,该公司内部的组织机构设置、人员配备等已经基本就绪。
2. 政府长期低息贷款
国务院《关于加快养老服务业发展的若干意见》(以下称“《意见》”):在养老产业投融资方面,《意见》提出将加大金融机构对养老服务业信贷的支持力度并放宽抵押限制,鼓励支持金融机构给养老项目低息贷款,贷款的规模、期限、利率方面的给予优惠,下一步将出台政府贴息扶持养老机构的办法。
3. 养老产业基金
长青基金:中国福利教育基金会长青基金属于政府色彩的投资基金,其第一项用途为“资助建设适合老年人居住的养老公寓”。公开信息显示,长青基金已经与山东新建业集团、首创置业、重庆和润养生老年公寓发展公司等合作开发老年住宅。
兴业基金:2014年6月,国内首只养老地产基金—兴业养老基金正式成立,该基金是中国老龄事业发展基金会。未来将采取租赁型养老模式而非出售。受益于项目的“民生”性质,未来该基金的养老地产将能获得国开行60%到65%的贷款,剩下30%至35%为自筹,等项目具备成熟的运作模式后有望向社会募集。另外,项目还能享受包括土地、税收等诸多方面的优惠政策。
表1政府或者慈善基金开发的养老地产项目
4. 私募股权投资(PE)
私募股权投资是指通过私募基金对非上市公司进行权益性投资。以盈利为目的,以财务投资为策略,以未上市公司股权(包括上市公司非公开募集的股权)为主要投资对象,由专家专门负责股权投资管理,在限定时间内选择适当时机,通过上市、并购或管理层回购等方式退出获利的私募股权投融资机构
考虑到私募股权退出机制的因素,最优化的资金融资方式并非私募股权融资,但是是快速有效的融资手段首选。私募股权投资可以解决前期资金状况不良,开发模式优良及前景广阔的养老地产项目。
养老地产开发商通过养老金、私募股权投资和自有资金整合,对养老房产进行项目开发,开发完成通过部分销售形式回笼部分资金,同时也可以发行房产投资信托(REITS)的方式实现项目的滚动开发。自持项目转入运营阶段,通过养老服务、分时度假、商业租赁和物业管理相结合,实现可持续经营。
PE的运作流程大致都可以概况为五个阶段:项目寻找,项目评估、投资决策、投资管理和投资退出。房地产PE具有以下几个优点:一、可以获得所有权和控制力。二、可以创造价值。三、便于利益重组。四、融资成本较低。五、退出方式灵活。六、可以分散风险。房地产PE的风险主要包括:信用风险、市场风险及操作风险。
图2 PE运作流程
商业性基金投资养老地产的积极性在慢慢升高。我国房地产产业基金严格来讲也是私募基金,是以投资公司的形式,由专业的人员或专业的公司运作管理的资金。在房地产开发、经营、销售等等价值链的不同环节,及其在不同的房地产公司与项目中进行投资的集合投资制度。我国房地产市场上已经运作着大量的房地产基金,如亚洲物业集团(SAP)、荷兰ING旗下的中国房地产基金、新加坡嘉德旗下的嘉茂基金、碧桂园地产基金和嘉实基金。
目前,美国城堡投资正准备募集10亿美元投资中国富裕地区的商业养老地产项目。挚信资本投资也于2010年年底入股亲和源1亿元。这反映了该机构对亲和源盈利模式的认可,但由于从事养老地产开发的企业大多还没有找到良好的商业模式,在养老模式、管理模式以及服务模式上缺乏创新,商业性基金的态度还很谨慎。
5. 房产投资信托
房地产投资信托(REITS),通过发行受益凭证募集大众投资的资金形成基金,由专业的投资机构经营房地产及相关业务,最后将绝大部分投资收益定期分配给投资者的集合投资制度,是除房地产产业基金外的第二大类型重要投融资工具,因为是吸纳了大量的投资者,所以该类产品成本利息对于房地产企业在房地产领域,借款利率相比地产基金来说要高出很多。目前市场信托接待利率达到15%左右。为了降低融资成本及其降低投资风险,在成熟房地产投资信托市场上,融资的主体更加倾向于吸纳来自政府公共机构、养老金、其他金融机构(银行、保险公司)、基金会和富有人群。
图3 房地产信托结构
6. PFI融资模式
养老地产的建筑设计和经营维护期间成本较高、前期投入大、投资回收期长、面临的不确定性更多,很多企业不愿意承担一系列开发风险而退出了养老地产的开发。
PFI模式是一种新的民营资本参与公共项目的融资模式,PFI项目一般周期长、投资大、参与主体多、不确定因素多,因而承担的风险也很大。PFI引入到养老地产项目中改变了以往老年公寓项目风险由政府部门单独承担或由企业单独承担的局面。
在养老地产运用PFI模式时,政府进行项目的选择和启动,私营部门组成的SPC公司进行项目具体的管理和运营,如项目的设计、开发、融资、建造和持有经营。SPC公司通过向政府和公众出售产品或者服务来获取利润。政府公共部门、SPC公司和公众是PFI项目的三个主要利益相关者,如图1所示。公众对SPC公司提供服务的满意度是判断PF[项目成功与否的一个重要指标。
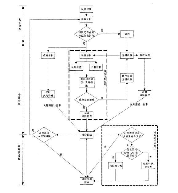
养老地产PF l融资模式风险分担设计
政府通过特许经营权或者服务合同承担政治风险和法律风险,项目公司承担相应的建设风险和运营风险;而环境风险、自然风险、金融风险、不可抗力风险主要通过项目公司的风险管理技术来规避、转移或者与政府共同承担。养老地产作为一种地产项目,房地产开发商承担着融资的责任,同时也承担着开发经营的各种风险。很多公共部门人员错误地认为“要把尽量多的风险转移给私人部门”;另一方面,很多私人部门人员认为“承担风险是获得高额回报的机会”。
图4 养老地产项目的风险分担和流程图
7.机构观点
观点1:开发养老地产项目,争取引入保险资本,是保证项目顺利进行的最佳融资途径,实现投资方、开发商、运营商的资源有机整合。
观点2:通过民政部门获取政府低息长期贷款是最大限度节约成本,减轻项目开发云运营压力,保证项目持续运营的有效融资模式。
观点3:争取和国家福利性养老基金合作开发养老地产,受益于项目的民生性质,未来该基金的养老地产将能获得国开行60%到65%的贷款。
观点4:养老地产开发商通过私募股权投资和和发行房产投资信托(REITS)的方式实现项目的滚动开发。自持项目转入运营阶段,通过养老服务、分时度假、商业租赁和物业管理相结合,实现可持续经营。(来源:山合水易研究中心)
表2养老地产融资模式比较





